我们常会利用支付宝给别人的银行卡转账,但有时辰想要查询对方完整银行卡卡号,怎么查询呢?手机端的APP是查询不了的,需要在官网上下载转账的电子回单,然后可以查看到完整的银行卡卡号,下面给大师介绍下方式。

工具/原料
- 电脑:联想T450、系统:windows 7
方式/步骤
- 1
打开百度浏览器,搜刮并打开【支付宝官网】。

- 2
进入后,点击【登录】,利用app扫码登录。

- 3
在比来买卖记实中,点击【查看所有买卖记实】。

- 4
进入账单查询界面,选择分类为【转账】选项。

- 5
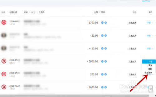
在银行卡转账中,移动到详情,接着点击【电子回单】。

- 6
输入身份证号及支付密码,点击【确认申请】。

- 7
电子回单开具当作功后,点击【下载电子版】选项。

- 8
打开电子回单,在【收条目方账户】可查看完整银行卡。









