工具/原料
- 电脑
- 打印机
方式/步骤
- 1
将折叠式标签纸放在机械的后面。打印面朝上,从外置纸卷进纸口穿入打印机。

- 2
打开打印机顶盖,抽出纸张至打印机前端,按照纸张大小调节导纸架。

- 3
标的目的下按,直到顶盖咔一声锁闭。

- 4
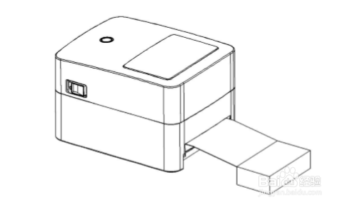
当利用折叠纸或纸卷较大无法放入纸仓时,可按下图体例从外置纸卷进纸口进纸,再将纸张由导纸架下方穿过,依纸张宽度大小收合导纸架以固定纸张两侧。

- 5
1.确认打印机电源开关处于封闭(O)状况。
2.将电源适配器毗连到打印机。
3.将电源线毗连到电源适配器。
4.将电源线另一端毗连到四周的插座。

- 6
按下图所示毗连接口电缆。
本打印机撑持下列通信接口尺度:
--USB B-Type 电缆









